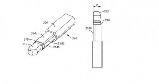
Late last year, we got wind of a couple of patent filings from Nintendo, showing sketches of a new controller, presumably for the upcoming Nintendo NX console. Now, a leaked image appears to show off what the controller looks like in the flesh and much like the sketch, it looks …
Read More »AMD rumored to launch 8-Core Zen CPU in October
AMD is set to take on Intel once again this year with the launch of its highly anticipated Zen architecture processors. While Socket AM4 is currently poised to launch for some APUs fairly early this year, Zen CPUs won't be arriving until a bit later, with current sources pointing towards …
Read More »Final Fantasy XV to finally release in September
It has been a long road but Square Enix is close to wrapping up development on Final Fantasy XV. Last year, Square Enix launched the game's demo and even updated it a little over the months that followed but the full game is set to come out this year and …
Read More »Daesh leak sees 22,000 foreign recruits profiled
The details of more than 22,000 international recruits of terrorist group Daesh, have been revealed as part of a leak by a disgruntled former member of the organisation's internal security team. Of the total, four were said to come from the USA, while 16 Britons were found as part of …
Read More »Overwatch open beta, final release dates leaked
Although you'll struggle to see it live now, a background takeover advert that appeared on IGN's website has revealed that Blizzard's upcoming, online multiplayer shooter (with a few MOBA elements) Overwatch, will have an open beta on 3rd May, with a final release on the 24th. You will have to pre-order …
Read More »Two leakers have shown off the HTC 10 ahead of announcement
HTC is preparing its flagship smartphone for 2016 at the moment and while we don't know when it will be announced, we do know what it looks like and what its specifications should be on launch thanks to two high-profile, trusted leakers on Twitter today. For starters, HTC is changing …
Read More »Valve finally sends emails to those affected by Steam Christmas error
Back over Christmas, Valve's Steam Store suffered from a bug that allowed users on the Steam Store to see the details of other user accounts. During this, those affected had their personal emails, names, addresses, phone numbers and more revealed to total strangers and now, months later, Valve has finally …
Read More »Apparently Apple is dropping the iPad Air name this year, will focus on iPad Pro
Apple is set to announce a brand new iPad and a new 4-inch iPhone at an event in just a couple of weeks time. Up until this point, all reports surrounding the new iPad have presumed that it would be called the iPad Air 3 but as it turns out, …
Read More »iPad Air 3 to have 4K screen, may launch in March
In October last year, Apple introduced the iPad Pro, giving the iPad Air 2 another year in the spotlight as the company's leading 10-inch tablet. However, it looks like it could be replaced quite soon as supply chain sources are claiming that the iPad Air 3 could be coming as …
Read More »iPad Air 3 to add better speakers and rear-facing flash
It seems that Apple is currently planning the iPad Air 3 for release this year and while we don't know a ton about it just yet, apparently it will be getting double the speakers just like the iPad Pro while also adding a rear facing flash for the camera. This …
Read More »Samsung Galaxy S7 release date leaked
While we are currently expecting to see Samsung's 2016 flagship, the Galaxy S7, make an appearance at the Mobile World Congress at the end of February we haven't heard much word about a solid release date. However, that may have just changed this week as the release date for the …
Read More »4-inch iPhone 5e/6c shown off in leaked video
Apple is returning to 4-inch smartphones this year with the iPhone 5e/iPhone 6C. While we still aren't entirely sure what name Apple is going with for the device, a leaked video released today has shown it off in its entirety. While previous rumours suggested that the device may look more …
Read More »HTC might be making both the Nexus 5 and Nexus 6 this year
Google appeased old Nexus fans last year by bringing LG back to create the Nexus 5X while Huawei took the reigns on the Nexus 6P, a larger premium phablet. However, things might be quite different this year as it seems that Google may have HTC lined up to make both …
Read More »New leak reveals Samsung Galaxy S7 specifications
With Samsung currently expected to launch the Galaxy S7 at the end of next month, now seems like just the right time for a full specification leak for the upcoming flagship. This week, new reports popped up claiming to reveal the specifications for the Galaxy S7, which will include a …
Read More »EK WaterBlocks is recalling its Predator 240 and 360 AIO coolers
A while back, EK Water Blocks (EKWB) launched its first All-In-One preassembled CPU liquid cooling units in the form of the EK-XLC Predator 240 and Predator 360. Unfortunately, a problem with these units has been discovered that could cause leakages and EK is issuing a product recall. In a post on …
Read More »Samsung Galaxy S7 will include microSD slot and bigger batteries
The Samsung Galaxy S7 could be arriving sooner than expected, with some rumours pointing towards a February announcement date, so it is not too surprising that we are also starting to see more specification leaks. According to a new report from the high-profile leaker, Evan Blass/EVLeaks, the Galaxy S7 will …
Read More »Apple’s new 4-inch iPhone could have better specs than expected
The rumour mill has been churning out information on Apple's potential iPhone 6C for a couple of months now. However, the latest reported leak has come as quite the surprise, showing off better specifications than expected for Apple's long-rumored 4-inch iPhone, which is set to replace the iPhone 5S at …
Read More »Pirate group to stop releasing screener movies following ‘security breach’
Earlier this month, pirates rejoiced when screener DVD copies of several movies leaked on to the web shortly after their theatrical release, or in the case of The Hateful Eight, before its official release date. At the time, the release group behind the leaks claimed that they would slowly be …
Read More »Samsung could launch the Galaxy S7 earlier than expected
It looks like Samsung might be preparing to launch the Galaxy S7 a little earlier than expected as a Chinese network provider has leaked images of an internal presentation, revealing slides for the Galaxy S7's release. According to the slides, we can expect the Galaxy S7 to be revealed in …
Read More »Hateful Eight screener leak group apologises to Tarantino
A group claiming responsibility for the leak of several high-profile movies, some pre-release, has apologised to director of The Hateful Eight, Quentin Tarantino. It didn't mean to hurt anyone it said, though did add the caveat that it believed the hype generated from the pre-release leak of the movie has now …
Read More »The Samsung Galaxy S7 to launch in two sizes
If the last year or two have taught us anything about the way Samsung operates, it's that we can expect a new flagship device announcement around March or April, so we can expect plenty of leaks and insider information to surface for the next few months, one of the first …
Read More »Leaked Hateful Eight screener copy linked to Hollywood executive
Whenever a movie shows up on torrent sites before it's even released in cinemas, you know the authorities are going to take it seriously. Which is why the FBI has been investigating the torrented copy of Quentin Tarantino's The Hateful Eight, which turns out, came from a ripped copy of a …
Read More »Commercial HTC Vive hardware/devkit 2 spotted in leak
In a leak on the HTC website, excited virtual reality fans have discovered the final, commercial version of the HTC Vive headset. It looks quite similar to the original, with a few noteworthy changes, but it's the controllers that really look different. Overall though, everything is just much more polished, …
Read More »Alleged VTech hacker arrested over six million children profile leak
The person allegedly behind the recent hack of several million children's accounts on the VTech Innotab tablet has been arrested. The 21 year old from the UK was said to have exposed information, pictures and audio recordings of as many as 6.4 million children and their parents after cracking the …
Read More »Potential leak paints a bleak future for HTC Vive headset
This week, HTC and Valve announced that the release of the Vive virtual reality headset has been officially pushed out of 2015, with the new release date pegged for April next year. However, it turns out that this delay may have been planned for months and it won't be the …
Read More »The iPhone 6C will resemble an upgraded iPhone 5s
Apple is currently preparing to launch the iPhone 6C at some point in 2016. We've already heard a few details and rumours, including one prominent iTunes leak but now it looks like things are starting to take shape, as new reports claim the iPhone 6C will ditch plastic in favour …
Read More »AMD may launch Radeon Software: Crimson Edition this month
This week, AMD announced a massive change to how it is handling its GPU drivers. The red team announced that the Radeon Technologies Group would be doing away with the Catalyst Control Centre entirely, putting drivers under a new banner: ‘Radeon Software: Crimson Edition'. The new drivers will feature an …
Read More »New episode of Arrow leaks on the web before it airs on TV
We've had a few notable TV leaks over the last few years. One season premier of Dexter leaked online weeks before schedule, this year we saw several episodes of Game of Thrones leak ahead of the season 5 premier and now today, people are downloading a new episode of Arrow, …
Read More »First images of Samsung’s massive 18.4-inch tablet appear online
Earlier this year, we heard that Samsung was experimenting with a massive 18.4 inch tablet, potentially in response to Apple's own 12-inch iPad Pro, which was heavily rumoured for some time prior to its announcement back in September. We now know quite a bit more about the Galaxy View tablet, …
Read More »Wikileaks releases trove of CIA director’s emails
Wikileaks has released a number of professional emails of current CIA director John Brennan, after they were hacked out of his AOL account by a hacker who in some cases is cited as being just 13 years old. Supposedly he gained access to the account through social engineering weaker accounts with …
Read More »
KitGuru KitGuru.net – Tech News | Hardware News | Hardware Reviews | IOS | Mobile | Gaming | Graphics Cards

