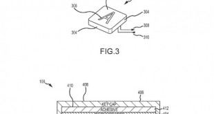
Last year, Apple revealed its new Force Touch technology, which in its current form allows the company to build completely flat, stiff trackpads that don't actually press in for a click. Instead, a little engine under the trackpad uses vibrations to simulate the feeling of clicking a trackpad. However, this …
Read More »Apple is working on bringing Force Touch to keyboards
Apple has been really pushing its Force Touch technology recently. The new haptic feedback feature has quickly been implemented in to Macbook trackpads, the Apple Watch, the latest iPhones and now it looks like it could be coming to keyboards as well, if this recently filed patent from the company …
Read More »Apple has kicked off production of the iPhone 6s
Apple has apparently officially kicked off production of this year's pair of iPhones, the iPhone 6s and 6s Plus. Since these devices are now in the pipeline, we also have some unofficial first details of the devices, namely the new force touch display. Apple seems to be quite proud of …
Read More »Apple launches new 15-inch Macbook Pro with AMD 300-series mobile graphics
Apple launched the 12-inch Macbook a short while back, featuring the brand new ‘Force Touch' trackpad technology. At the same time, it updated the 13-inch Macbook Pro and now the company has finally made its way around to updating its 15-inch flagship laptop. The new 15 inch Macbook Pro has …
Read More »Apple patent hints at future force touch uses
Apple recently revealed its brand new ‘force touch’ track pad alongside its new Macbook and 13 inch Macbook Pro but the technology could get more uses in future iterations, according to a new Apple patent application. It looks like Apple is interested in mixing vibrations and temperature changes to fool …
Read More »
KitGuru KitGuru.net – Tech News | Hardware News | Hardware Reviews | IOS | Mobile | Gaming | Graphics Cards

