Home / Software & Gaming / Nintendo patent reveals unannounced crank attachment for Switch 2 Joy-Con

Nintendo patent reveals unannounced crank attachment for Switch 2 Joy-Con

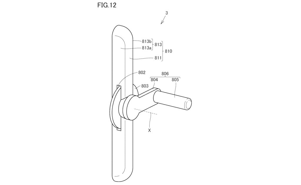
Nintendo keeps exploring unique ways to play, as a newly discovered patent filing reveals the company is experimenting with a crank-like peripheral for its controllers. The patent, filed with the World Intellectual Property Organisation (WIPO), shows a detachable crank that could add a new layer of tactile, rotational input to games.

Spotted by Nintendo Patents Watch (via Polygon), the patent documents detail a device that would slot into a recessed area on a controller. This design immediately brings the Switch and its Joy-Con rails to mind. The crank could then be used for specific in-game actions, with the patent using examples like reeling in a fishing line or other gameplay mechanics that require rotational control. It's a quirky idea, but one that could open the door to some interesting new ways to play.

Image credit: Wipo

While a crank might seem like an odd choice for a modern console, it's not the first time we've seen such a thing. In addition to some indie consoles featuring a similar mechanic, Nintendo has also played with the concept before, featuring a buildable cardboard crank as part of one of its Nintendo Labo kits.

As is always the case with patent filings, it's important to keep expectations in check. A patent just proves that a company has explored an idea and wants to protect it. It is not a confirmation that a product is in development or will ever be released. Companies like Nintendo patent countless concepts that never see the light of day.

Discuss on our Facebook page, HERE.

KitGuru says: While we probably shouldn't expect to be cranking our way through the next Zelda game anytime soon, it's clear that the company is still committed to innovating how players can interact with games.

Become a Patron!

Check Also

Overwatch NieR

Blizzard prematurely unveils Overwatch x NieR: Automata crossover, arriving next week

In a post which has since been deleted, Blizzard confirmed that Overwatch is set to crossover with NieR: Automata, as “Project YoRHa initiates March 10!”