Chances are if you can't make it to a gig, you can catch some videos of it later on YouTube, not all artists like this idea and it seems that Apple is also taking that stance as the company has been granted a patent for a new iOS feature that could stop the iPhone camera from capturing footage at concerts.
The patent was awarded in the US and it describes a system that can disable an iPhone's video-recording function if you happen to be at a venue.
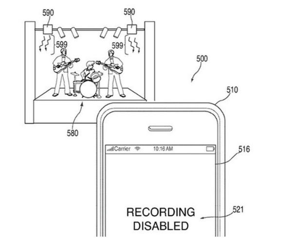
The idea is that a venue can use encrypted infrared signals to disrupt the iPhone's recording functions while in the building. The patent filing itself illustrates this being used in a concert scenario but this could also be used to stop iPhone cameras from working in cinemas or other venues.
The patent itself reads: “The device may be unable to display or store images if the device has received a command to disable recording. If a user selects a record function while that function is temporarily disabled, the display may provide a black screen with a notification to notify the user that recording has been disabled.”
KitGuru Says: It is worth pointing out that Apple files new patents all of the time and they don't always turn into widely used iOS features. That said, it will be interesting to see how people react to this idea.
KitGuru KitGuru.net – Tech News | Hardware News | Hardware Reviews | IOS | Mobile | Gaming | Graphics Cards



LOL & OMG what a joke and if people keep buying Apple products such as phones and Tab’s when & if they start doing this I have some swamp land in Florida real cheap.
I’m happy Apple have patented this tech. It means non-Apple phones won’t be able to do it 🙂
If you have to buy an Apple phone, it’s relatively easy to shield a handset from IR and I’m sure 3rd party case makers would be more than happy to sell you an IR shielded case so you can get around this thing.
So, how exactly does this benefit the consumer? I’m assuming they will be paying for this tech through the cost of the device…
I love this idea.. when this gets out i can make a small device to put on my clothes to keep people around me from taking pictures of me..
Ammmm thats like selling a porche with a speed limiter.
Might be great for safety but customers are going to be Teed off.
Indeed, samsung would be delighted,
I currently earn in the range of six to eight thousand bucks /a month working online. For those of you who are ready to do basic freelance work for 2-5 h each day from comfort of your home and earn decent profit for doing it… Try this job SELF19.COM
go ahead you will go broke when everone turns to androds
And of course there is absolutely no danger that corrupted politicians or trigger happy cops would use that to infringe on our constitutional right to record them, right? LMAO… The INSTANT Apple deploys this Orwellian technology, they are no better than DEAD. This is corporate suicide in the making! Samsung and the others must be ecstatic over this prospect.
Really? Can you objectively quantify the amount of hurt random people taking picture has caused you, in your entire life? From 1 to 10, 10 being death, how much?
some people dont want their picture taken in public, i can think of a few reasons..
they already make clothing that shines and messes up the camera when it flashes..