It is well known at this point that Apple is experimenting with Augmented Reality technology, with hopes of releasing a head-mounted display at some point. Apple dipped its toes in the water last year with the introduction of AR features on the iPhone 8 and iPhone X, but there are bigger plans in place, as shown by a recently filed patent, describing a very different HMD compared to the Hololens, or various VR headsets we are used to.
Last week, Apple applied for a patent that sheds light on the company's intended plans for an Augmented Reality headset. As you might expect, one of the company's key goals is to reduce weight and size while increasing comfortability. As the patent says, current HMD solutions are “bulky and heavy” and can be “cumbersome or tiring to wear”. Apple intends to solve these problems with a new type of optical system.
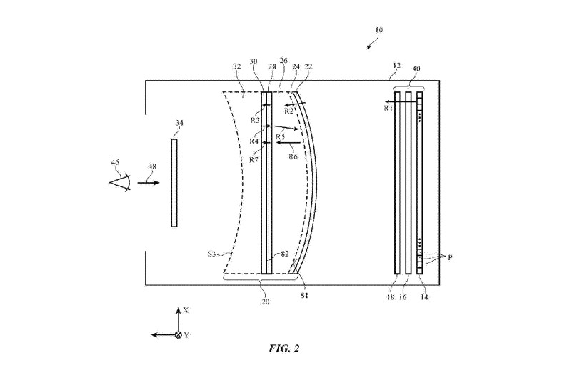
Apple's Augmented Reality headset will use something called a ‘catadioptric system', which uses curved mirrors and lenses to combine refraction and reflection. By going this route, Apple may be able to avoid using magnifying lenses, which appear in most current VR headsets. This system could also reduce headset weight, making it less cumbersome to wear.
Previous rumours have pointed towards a 2020 launch for Apple's first Augmented Reality headset, with plans to announce it in 2019. However, the development process often has many twists and turns, so plans could change as time goes on. Either way though, this patent is a good indicator of what the company is currently aiming for.
KitGuru Says: Apple doesn't tend to rush products out of the door, so it could be a few years before we see their AR headset in action. Still, I'm sure we'll hear more about it before it finally comes to fruition, particularly since Apple is pretty bad at containing leaks these days.
KitGuru KitGuru.net – Tech News | Hardware News | Hardware Reviews | IOS | Mobile | Gaming | Graphics Cards


