Apple is once again attempting to reinvent connectors for its devices. The company has a long history with proprietary connectors, we have seen the 30-pin dock connector on older iPhones and iPods, we have seen the Lightning connector and now, Apple is trying its hand at reinventing the headphone jack.
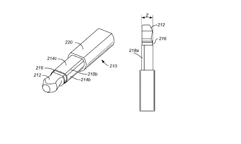
In an effort to create even thinner devices, Apple has filed a patent for a new type of headphone jack, which will measure in at 2.5mm thanks to a new D-shape connector. The patent was initially found by Apple Insider and the connector works exactly the same as other 2.5mm and 3.5mm connectors that we are used to.

The smaller profile connector will allow Apple to cut down on device thickness once again, which is one of Apple's primary design focusses these days. Unfortunately, this likely won't do wonders for battery life, though Apple has found a way to very thin stack batteries, as seen in ‘the new Macbook'.
So from this, we can expect next year's iPhone to be very thin. We will have to wait and see what that means for other features and most importantly, battery life.
Discuss on our Facebook page, HERE.
KitGuru Says: Proprietary connectors are never a good thing when compatibility is concerned. It will be interesting to see if Apple goes ahead with this on the iPhone 7 and how people react to being told that their own headphones won't work without an additional adapter.
KitGuru KitGuru.net – Tech News | Hardware News | Hardware Reviews | IOS | Mobile | Gaming | Graphics Cards


I’m confused, if they are producing a 2.5mm connector why not just use the existing 2.5mm audio jack that exists on a whole range of phones and other devices?
Stunning, they flattened one side, amazing job. Shit like this just needs to die already.. as do apple with all their proprietary garbage, flooding the market with useless tat.
Let me show you real ways to get paid some money on weekly basis by completing basic tasks on-linefrom comfort of your #home for 3-4 hrs a day ~ Check >my__@+__ID to see more information
Well apple’s design shaves off .15mm from one side allowing any future phones/tablets to be waaaaaay thinner and more flexible!
If they got the patent granted, they can charge a gazillion $ patent fees,
for all makers of acessories, they shouldn’t get this patent in the first
place, it’s not a patent worthy invention it’s just a little modification of
an existent standard.
Because the headphone jack is the most thickest part of a phone isn’t it
the thin wires in these will be the down fall like all the present ones !
It’s quickly becoming that way.
can we please rain down a shitstorm on apple fo this garbage?
This smells like profit (not that they need more) i-headphones for all! (if you use an the ‘n’ Gen apple)
Stuff the standard ones.
I doubt anyone else will use it, so its going to be a apple proprietary so not interchangeable with anything else, but least apple fans will be happy.
Camera sensors are still bigger
Its apple, if they make it people will buy it. Not a single person are going to say I will not buy nr7 because it doesn’t have a normal headphone jack. They going to say wow I can buy my new headphones in 6 different colours and they only cost £100 for that price im going to get 3 so I have one for each mood im in.
And if apple have any doubts that people are going to maybe be just the smallest bit concerned about maybe having to think about buying a new set of headphones, they will throw a cheap pair in for free for the first generation.
They not stupid they know they can sell what ever they bloody well like people buying a lifestyle not a product.
So.. uh.. The charger can go in any orientation, but now the headphones can only go in one-way?
I seem to remember my old Nokia having a 2.5mm jack, I’m sure we can use that.
I don’t want phones to become much thinner than the iPhone 6. That one is already way below a CM. How far are they planning to go? Until I can’t notice the difference anymore between my phone and a sheet of paper?.
Also, I’d like to be able to plug in my headphones with a 3.5mm jack thank you!