In an attempt to quell keyboard issues on its range of MacBook Pro laptops, Apple subtly added a silicon membrane in its latest model to prevent dust build-up affecting the butterfly switches. It looks as though the company is set to go in an entirely different direction with future devices, introducing a layered glass approach.
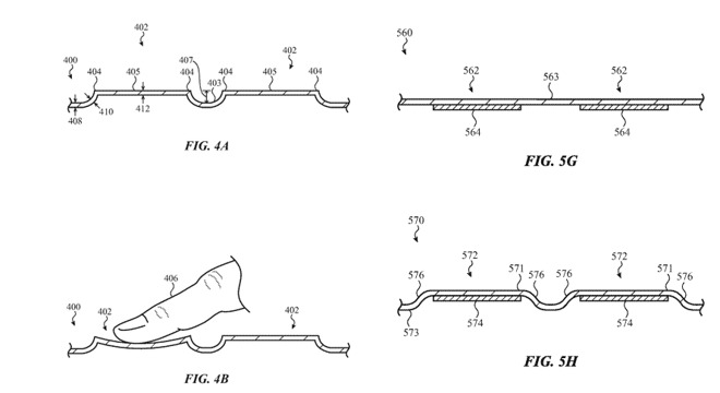
Published by the U.S. Patent and Trademark Office, the “Computer with keyboard” application was first spotted by AppleInsider. The single glass panel looks to bridge the gap between traditional chicklet-style notebook keyboards and those seen on touchscreen devices.
Raised portions of the keyboard would remain identifiable for touch typists, while providing the user with tactile feedback. When a key is pressed, the panel detects the pressure and reacts accordingly, and in some elements use a lower layer to effectively “push” the key back into place.
This design comes with a number of pros and cons in its concept. Firstly, it manages to alleviate previous concerns of dust build-up to prevent switches from catching over time, as foreign bodies can’t get underneath the key to interrupt the mechanism. This comes with the caveat that keys simultaneously cannot be replaced and there are a number of questions regarding troubleshooting and repair.
It does also mean that layout and response can be changed on-the-fly for different users, and present a number of interesting shortcuts made possible within software. Lastly, glass takes up much less space than its physical counterpart, allowing for thinner devices and/or more room for hardware underneath.
Overall, this is just one of many patents that Apple files on a regular basis meaning the likelihood of seeing it reach market is uncertain. Previously, the company had also filed for a ‘keyless keyboard’ that houses a similar dual-layer mechanism but forgoes the raised, tactile segments seen in its more recent listing.
Keyboard: Rather than opting for a thinner device, I really would hope that Apple would introduce more cooling. MacBooks tend to last quite a long time in comparison to rivals, but I’d always encourage more cooling on portable devices. What do you think of the glass keyboard?
KitGuru KitGuru.net – Tech News | Hardware News | Hardware Reviews | IOS | Mobile | Gaming | Graphics Cards


