It looks like AMD has started to do some research on hybrid processor architectures. A new patent filed by AMD describes a technique used to transfer data in a heterogeneous processor that will feature both “high-feature” and “low-feature” processors, similar to ARM's big.LITTLE architecture and Intel Lakefield processors.
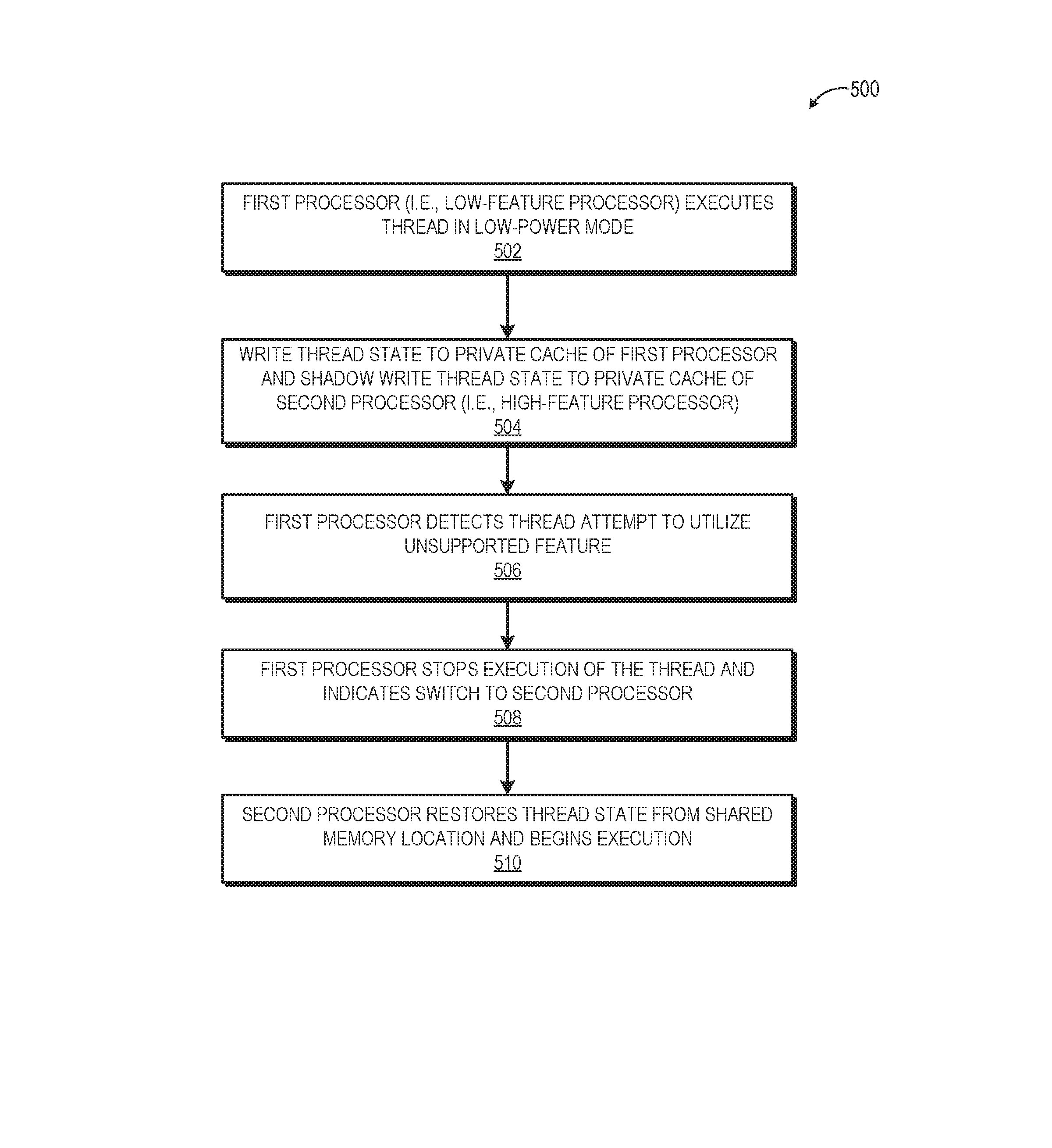
The AMD patent, shared by @Underfox3, refers to an “instruction subset implementation for low power operation”. This implementation would be made on a heterogeneous processor, allowing the subset to be executed on both the high-feature and low-feature processor, depending on the task's needs. Heavy tasks would be assigned to the high-feature processor, while the low-feature one would be handling low-performance tasks. If a core wasn't being used, it would be turned off to reduce power consumption.
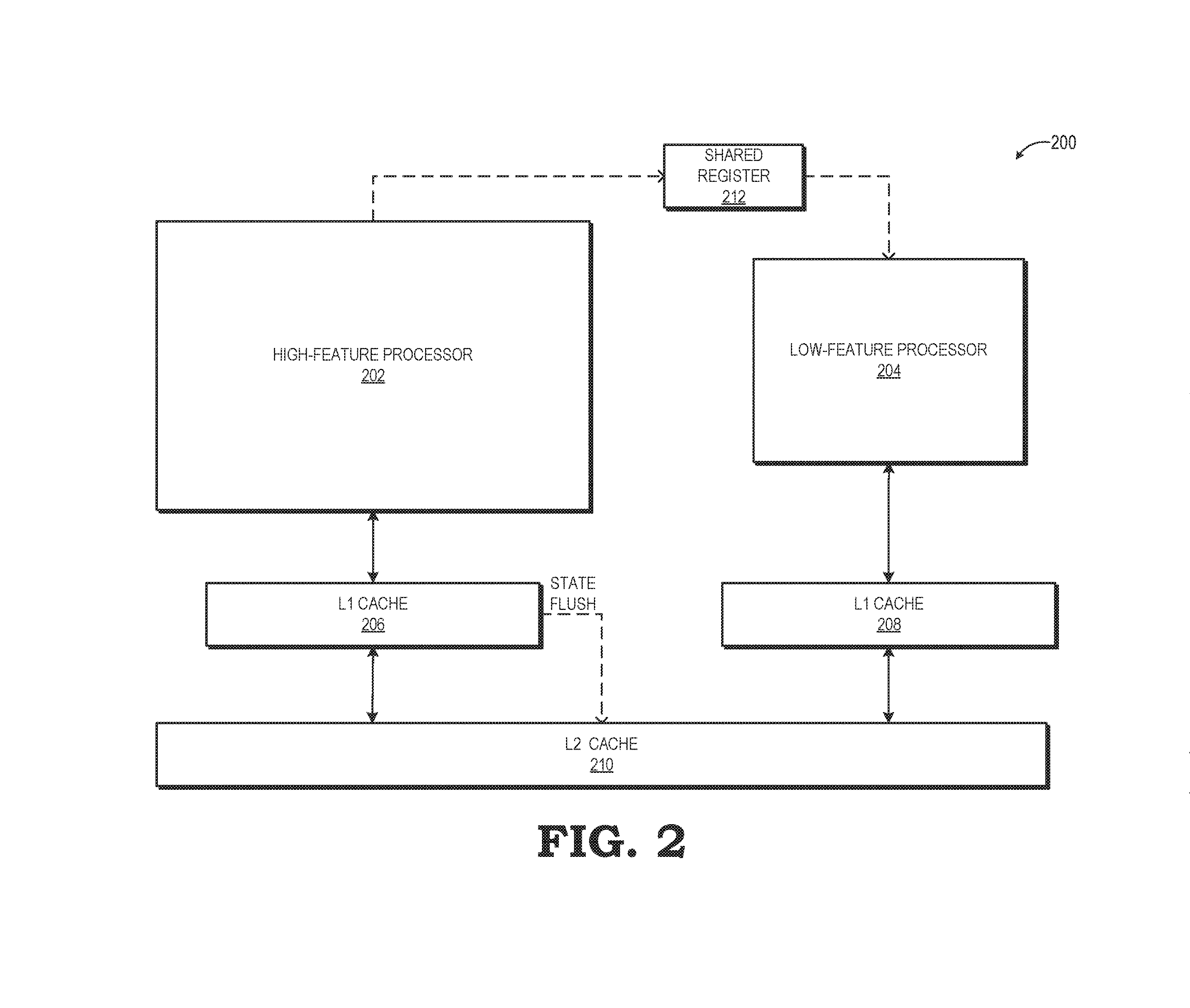
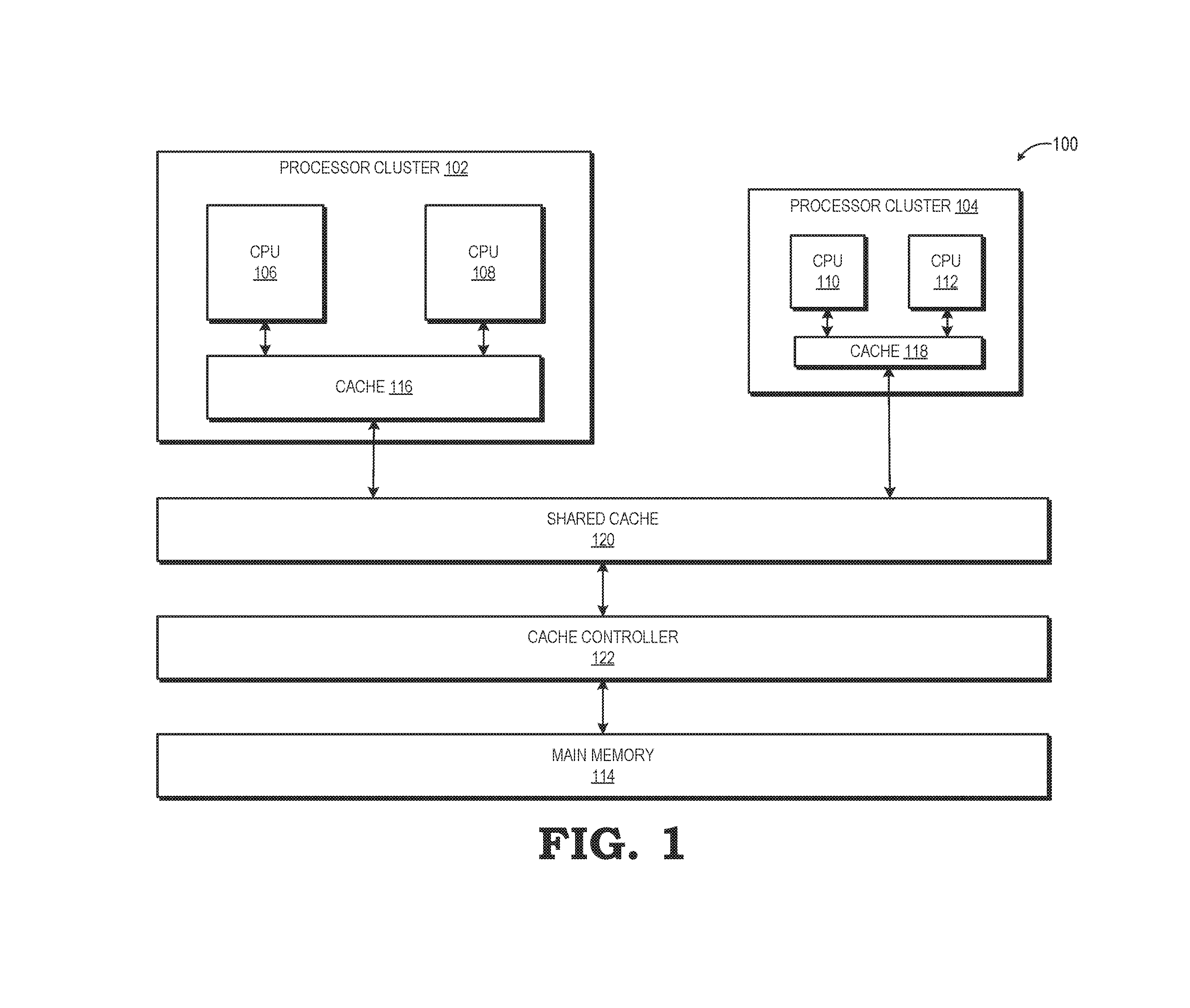
As per the images below, it seems that the L1 cache will be independent to each processor “to reduce the average time to access data from the main memory”, but they will share the L2 cache. In the first figure, the processors are also sharing the main memory and the cache controller, which will monitor the utilisation and performance of both processors. The second figure shows both processors sharing a register, used to share the state of their cores and threads and allowing them to resume the tasks they transfer between each other.
The type of device this architecture would be aimed towards is unclear . Using Intel's case as an example, the company has recently launched a similar hybrid technology on mobile devices, but we expect that it will be also used on Alder Lake-S, destined for desktop processors. AMD's patent also describes a method for the processor to independently select the threads and cores to use, unlike Intel Lakefield which depend on the operating system.
This patent is currently in the adjustment phase, meaning that it's not definitive and is still subject to change. Given that this is just a patent, we don't know for sure if AMD will use a hybrid architecture in a future generation of processors, but it could be interpreted as a sign of that.
KitGuru says: What is your opinion on hybrid CPU architectures? Do you think AMD will eventually release a processor using a hybrid architecture?
KitGuru KitGuru.net – Tech News | Hardware News | Hardware Reviews | IOS | Mobile | Gaming | Graphics Cards






